Ağaçlandırma terasları (İşçi Gücü İle Yapılan Teraslar)
Ülkemiz engebeli ve dağlık bir yeryüzüne sahip olup eğimi %40’ın üzerinde olan alanlar ülke yüzeyinin %45’ini oluşturmaktadır. Düşük yükseltilerdeki ovalar genel olarak tarıma, üst yükseltilerdeki düzlükler meraya ve buna bağlı olarak hayvancılığa ayrılmıştır. Hatta orman olması gereken milyonlarca hektar alan, bilimsel açıdan yanlış arazi kullanımları ile tarım, mera veya diğer kullanımlara açılmıştır.
Ormancılığımız ve buna bağlı olarak ağaçlandırmalar, genelde eğimli alanlarda yapıldığından, bu eğimli yamaçlarda yapılan alan hazırlığında teras, gradoni, şerit gibi tesislerin yapılması gerekmektedir. Ağaçlandırmalarda teras ve gradoni uygulamaları genelde %20, bazı koşullarda %15 eğimden sonra yapılmaktadır.
Ağaçlandırma amaçları dışında toprak koruma ve tarımsal amaçlarla yapılan terasların aralıklarını ve boyutlarının belirlenmesinde bazı ampirik formüller bulunmaktadır. Örneğin Saccardy tarafından önerilen formül yaygın olarak kullanılmaktadır. (Tavşanoğlu 1974, Aşk 1977, Ürgenç 1998a, Anon. 1999, Görcelioğlu 2002, Hızal 2001).
H: düşey aralık (m), S: arazi eğimi (%)
Teraslama: Teraslar, fazla eğimli alanlarda toprak ve suyun korunması için yapılan tesislerdir (Hızal 2001, Görcelioğlu 2002). Teraslar toprak ve su koruma işlevleriyle tarım, ormancılık, mera ıslahı ve peyzaj onarımı çalışmalarında başarıyı belirgin olarak artıran, hatta bazı koşullarda başarı için gerekli önemli tesislerdir. Teraslar genel olarak eş yükselti eğrilerine paralel olarak yapılır. Ağaçlandırma terasları toprak ve su korumaya katkıları ile birlikte, dikilen fidanların sudan daha uzun süre faydalanmalarını sağlar. Teras yapımı ile sağlanan olumlu ortamda fidan yaşama yüzdesi ve gelişmesi, teraslama yapılmayan alanlara oranla belirgin olarak fazladır (Aşk ve Aydemir 1967).
Ağaçlandırma teraslarının işlevleri bakımından sınıflandırılması
Ağaçlandırma terasları ve tarım terasları işlevleri bakımından eğimli (akıtıcı) teraslar ve eğimsiz (emdirici) teraslar olmak üzere iki gruba ayrılır.
Eğimli (akıtıcı) teraslar: Başlangıçtan diğer ucuna doğru eğimi %0.5-%1 arasında azalarak seyreden, teras içinde toplanan suyu bir dere yatağına veya oyuntuya akıtan teraslardır. Eğimli teraslar bol yağış alan yörelerde yapılır. Yüzeysel akışı kısa mesafelerde tutarak eğimleri vasıtasıyla yamaç dışına gönderirler. Böylece yüzeysel akışla toprak taşımasını azaltır veya engeller. Yağışlı yörelerde bitkilere yeterli su sağlanabildiğinden eğimli teraslarda ana amaç toprak korumasıdır. Ancak teraslar ağaçlandırma yapılacak yüzeyi de oluşturmakta ve fidanların daha uzun süre sudan yararlanmasını da sağlamaktadırlar. Eğimli teraslarda teras uzunluğunun 400 m’yi aşması durumunda, teras bozulmalarına neden olan eğim hataları yapılabilmektedir (Görcelioğlu 2002). Eğimli terasların kanallı (hendekli) teras şeklinde yapılması işlevlerini kolaylaştırmaktadır.
Eğimsiz (emdirici) teraslar: Daha çok sağanak yağışların etkili olduğu yarı kurak ve kurak bölgelerde eşyükselti eğrilerine paralel olarak uygulanır. Toprağın yağışları emmesini ve fidanların sudan daha uzun süre yararlanmasını sağlamak ana amaçlardan birisidir. Diğer ana amaç ise sağanak yağışların neden olduğu yüzeysel akışı azaltıp, sel ve taşkınları engellemektir.

Eğimsiz teras (Kahramanmaraş-Ahırdağı; 1700-1800 m.
Eğimsiz terasların uzunluğu kısıtlı değildir. Ancak terasın herhangi bir yerinde oluşabilecek bir yarılmanın tüm terasın işlevini yetirmesine neden olmaması için, teras içinde 5-10 m aralıklarla eşikler (setler) yapılır. Bu eşiklerin yüksekliği teras yüzeyinin orta çizgisi yüksekliğine kadar (yaklaşık 15 cm) olup terası bölümlere (kompartman) ayırır. Eğimsiz bir teras sisteminde, koşullara göre, 15-20 adet eğimsiz terastan sonra eğimli bir terasın yapılması, aşırı yağışlarda teras sistemi için bir güvence oluşturmaktadır.
Toprak koşullarının kesintisiz (devamlı) teras yapımı için uygun olmadığı yerlerde farklı uzunluklarda kesik teraslar yapılabilir. Ayrıca eğimin fazla olduğu veya toprağın hareketli olduğu yamaçlarda, teras yapımından önce toprak stabil hale getirilir. Bu amaçla canlı çitler, cansız çitler, istinat duvarları, taşla destekleme ve diğer tesislerin yapılması gerekir (Aşk 1977, Anon. 1999, Görcelioğlu 2002;2004).
Ağaçlandırma teraslarının tipleri
Ülkemizdeki ağaçlandırma çalışmalarında genel olarak yamuk kesitli banket (tekne) tipi teraslar ve “V” kesitli gradoni tipi teraslar kullanılmaktadır (Ürgenç 1998a, Görcelioğlu 2002).
Yamuk kesitli teraslar: Eğimi %40’ı aşmayan yamaçlarda kullanılmaktadır (Balcı ve Öztan 1987). Bu tip terasların yapımında, teras tabanının etek yönünde toprak çapalanarak veya kazma ile kazılarak dolgu toprağın yamaçla daha iyi kaynaşması sağlanır. Bu işlem fidan köklerinin gelişmesine de katkı yapmaktadır.
Gradoni tipi teraslar (gradoni): Gradoniler %60 eğime kadar olan yamaçlarda uygulanabilmektedir (Balcı ve Öztan 1987). Kesitleri “V” şeklindedir. Gradonilerde teras tabanı kazılarak gevşetilebilmektedir. Gradoniler eteğin tersi yönde %15-40 eğimli olarak yapılır. Taban genişliği 70-90 cm, derinlik 20-35 cm arasında değişmektedir (Büyükyıldırım 1960, Görcelioğlu 2002, Saatçioğlu 1970a, Ürgenç 1998a). Gradoniler genelde teraslardan daha dardır. Kurak yerler için teras genişliği 100-150 cm olarak önerilmektedir (Goor ve Barney 1976). Teras derinliğinin yarı kurak yörelerde 45 cm’nin üzerinde olması esastır (Büyükduman 1977). Aksi halde fidan tutma başarısı hızla düşmektedir. İç Anadolu ve Doğu Anadolu bölgelerinde teraslarda yapılan ağaçlandırmalarda görülebilen düşük başarılar, genelde terasların yeterli derinlikte işlenmemesinden kaynaklanmaktadır. Terasların 45 cm derinlikte işlenmemesi durumunda sırtta taşınabilen motorlardan güç alan burgularla dikim yastıklarında 50 cm veya daha derin çukur açılması bir alternatiftir. Bu konuda denemelere girilmesi ve maliyetlerin hesaplanması uygun olur.
Kanallı (hendekli) gradoni: Ülkemizde geliştirilmiş olup gradoninin bir alt tipidir. Gradoni eteğin tersi yönde, eş yükselti eğrilerine paralel bir hendek içermektedir. Bu hendek fazla suları toplar ve bitkinin daha uzun süre sudan yararlanmasını sağlar. Kanal aynı zamanda gradonilerin yıkılmasını da önlemektedir. Kurak mıntıkalarda başarıyı artıran bir teras tipidir. Ülkemizin yarı kurak alanlarından Ankara-Eymir Gölü havzasında yapılan bir araştırmada, uygulanan kanallı (hendekli) gradonilerin, gradonilerden daha uygun toprak nemi koşulları yarattığı belirtilmektedir (Büyükduman 1977). Başarının daha yüksek olması nedeniyle daha pahalı olmasına karşın, havzada kanallı gradonilerin yapımı önerilmektedir.
Çalı takviyeli teras ve gradoni: Terasların dayanıklılığını artırmak için çalılarla desteklenmiş gradonilerdir. Gradonilerin bir alt tipidir (Yeşilkaya ve Cengiz 1989, Ürgenç 1998a, Görcelioğlu 2002). Çalılar, dal uçları etek tarafına gelecek ve dışarıda kalacak şekilde gradoninin dolgu şevi üzerine bir tabaka halinde dizilmektedir. Dalların üstü eteğin tersi tarafındaki yamaçtan kazılan toprakla kapatılmaktadır. Burdur yöresinde kermes meşesi (Quercus coccifera) dalları kullanılarak uygulanan bu gradonilerin genişliği 80 cm, derinliği 35 cm, eteğin tersi yönde eğimi %30 dolayındadır. İki teras arasındaki yatay mesafe en az 3 m olarak alınmıştır.
Türkiye’nin değişik bölgelerinde uygulanan gradoni veya kanallı gradoni tiplerinde, bölgeye özgü bazı farklılıklar bulunmaktadır.


Akdeniz Bölges’nde kullanılan hendekli (kanallı) gradoni tipi (Büyükyıldıdırm 1960).

Çalı destekli gradoni.


Çalı Takviyeli gradoni Teras
Üstte: Çalı destekli gradoninin yapılması (Burdur)
(Fotoğraf ÇEM arşivinden sağlanmıştır).
Altta: Tamamlanmış bir çalı destekli gradoninin görünümü
(Kahramanmaraş-Ahırdağı) (Foto: M. Boydak).

Örme çit destekli teras ve gradoni: Eğimli ve toprağın stabil olmadığı alanlarda terasların dengesini sağlamak, sağlamlaştırmak ve daha uzun bir süre işlev yapmasına imkan vermek amacı ile yapılan tesislerdir. Örme çitler teras veya gradonilerin vadi tarafına çakılan kazıkların arası çürümeye daha dayanıklı dallarla örülerek yapılmaktadır.


Eğimli ve stabil olmayan toprakta örme çitlerle terasların stabilizasyonunun sağlanması

Örme Çit Yapımında Kazıkların Araziye Çakılma Açısı
Ağaçlandırma teraslarının aralıkları, apilakasyonu ve uygulanması
Ağaçlandırma teraslarında, teraslar arasındaki yatay mesafe 3-4 m’dir. Çünkü kapalılığın belirli bir süre sonra oluşması arzu edilir. Buna karşılık mera ıslahı ve toprak koruma amaçlı teraslarda, teraslar arası mesafeler yamaç eğimi dikkate alınarak, erozyona neden olmayacak aralıklara genişletilmektedir. Daha önce açıklandığı gibi ağaçlandırma amacı dışındaki terasların yatay ve dikey aralıklarının hesaplanması örneğin Saccardi formülleriyle yapılmaktadır. Sccardy formülleri ile hesaplanan teras aralıkları ağaçlandırma amaçları için çok geniş olup, ağaçlandırma amaçları için kullanılmaz.
Eğimsiz terasların araziye uygulanmasında düzeçli bir pergel veya eğimölçerden (klizimetre) veya nivelman aletlerinden (teodolit, nivo veya nivo-kolimatör) yararlanılır. Eğimli terasların uygulanmasında da nivelman aletlerinden yararlanılmaktadır (Aşk 1977, Görcelioğlu 2002). Eğimli ve eğimsiz terasların yapımına yamacın üst kısmından başlanarak alt kısmına doğru devam edilir. Böylece yapılan terasların zarar görmemesi sağlanır. Eğimli her bir terasın yapımına ise bu terasın alt ucundan (çıkış ağzından) başlanarak başlangıcına doğru devam edilir (Görcelioğlu 2002). Teraslar kazma, çapa ve kürek gibi aletlerle hazırlanmaktadır. Toprak işleme sırasında çıkan taş ve kesekler terasın etek tarafına yerleştirilerek, terasların dayanıklı olmasına katkı yapılır.

Düzeçli Teviye Pergeli
Teraslar üzerinde dikim bazı durumlarda ekim yapılabilmektedir. Kurak mıntıkalarda dikim noktaları, teraslardaki su birikmelerinden veya yazın yoğunlaşan sıcaktan zarar görmeyecek şekilde olanaklar ölçüsünde eteğin tersi yönünde yamaca yaklaştırılır. Nemli mıntıkalarda ise dolgu toprağın üst kısmana doğru bir yer seçilebilir.

Aplikasyonun Şematik Olarak Görünüşü
Teraslar üzerinde yapılan toprak koruma ve su rejimini düzenleme amaçlı ağaçlandırmalar ve sel derelerini ıslahı ile birçok yerleşim yeri (örneğin; Tokat, Kahramanmaraş, Akşehir, Erzurum-Oltu vd.) su baskınlarından korunmuş ve yerleşim yerlerinin etrafında yeşil kuşaklar oluşmuştur.
Kesik teraslar
Kesik teras uzunluğu 1.5-2.0 m veya arazi koşullarına göre daha uzun, genişliği 0.6-0.90 m olan teras parçalarıdır. Teras aralıklarının yatay olarak 4 m’yi aşmaması arzu edilir. Ekonomik veya ekolojik nedenlerle teras aralarının yatay olarak 4 m’den geniş alınması durumunda teras aralarında 1.5×2.0 m boyunda 0.6 m genişlikte kesik teraslar yapılarak alanda kısa sürede kapalılığın oluşması sağlanmaya çalışılır. Böylece teraslar zaman içinde bozulmadan önce erozyonu önleme işlevi ağaçlara devredilir. Bazı koşullarda kesik terasların yerine dikim çukurları açılarak yamaç dikimi yapılabilir veya ikisi bir arada uygulanabilir. Kesik teraslar veya yamaç dikimi için çukur açılması mini ekskavatör ve örümcek kepçesiyle de yapılabilir. Ekolojik koşulların özellikle anataş ve toprak koşullarının uygun olması durumunda, teras aralıklarının yatay olarak 4 m’yi aşmaması, erozyonu önleme görevinin makul bir sürede ağaçlara veya ağaç, ağaççık çalı vb. kombinasyonlara verilmesi gerekir.

Kesik Teras Aplikasyon Düzeni

Terasın Yapımı Aşamalarının Şematik Görünüşü
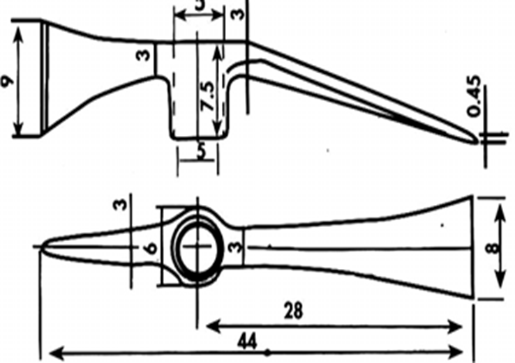
İnsan Gücü İle Yapılan Teraslama Çalışmalarında Kullanılan Kazma Tipleri

Baltalı Kazma

Sivrili Kazma
Herhangi bir fikriniz var mı?
🤔 Bu haber hakkında ne düşünüyorsunuz? Tepkinizi emojiyle gösterin!